1997 - 2003 F-150

Started tear down for replace head gaskets

Thread Tools
 
Search this Thread
 
Old Feb 29, 2016 | 01:20 PM
  #1  
Midnightride42's Avatar
Thread Starter
|
Senior Member
Joined: Sep 2008
Posts: 358
Likes: 0
From: OH
Started tear down for replace head gaskets

well as some of you read I have the leak in the back of the engine on the passenger side.

This past weekend I started the tear down. 3 hours later intake manifold is still on there. Taking my time removing things and taking notes with pictures to where lines go etc...already found a few vacuum lines that were busted. I'm surprised I didn't get any cels or any weird symptoms from them.

At this point my only issue will be the timing chain and getting the timing right. I ordered a new set of chains with guides and pensioners. I hope they have the colored links. Did some searches online and of course on youtube too, and came across several different direction on what position the crank/cams should be. So not looking forward to reassembling

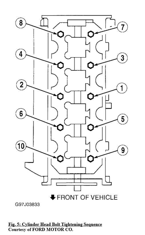
Any good tips/tricks on timing or install of head bolts torque specs and what order to tighten etc..? I've always heard you start from the middle out to tighten and reverse order for loosening.

Will post up some pics from before and after as I have plans to clean/paint up the parts as they will be off anyways.
 
Reply
Old Feb 29, 2016 | 03:56 PM
  #2  
Midnightride42's Avatar
Thread Starter
|
Senior Member
Joined: Sep 2008
Posts: 358
Likes: 0
From: OH
I'd also like to put this question out there:
1) if the cams and crank are kept in same place when engine was turned off..then chains and guides/tensionars are replaced shouldn't the timing be good then? Even with the special tool to hold the cams.

2) I know you don't need the special tool but what if you used say a set of vise grips with a rag/towel around the cam to not scratch it but hold the cams in place before removing the chains and or removing the heads. That should keep the cams in place and ready for the new chain once reinstalled correct? The vice grips could be clipped on and rested on the side of the head...of course using two on each head to keep the things in place.

Not sure if anyone has used that method but I questioned those.
Thoughts?
 
Reply
Old Feb 29, 2016 | 04:43 PM
  #3  
glc's Avatar
glc
Senior Member
15 Year Member
Veteran: Navy
Veteran: Reserves
Joined: Dec 2006
Posts: 43,530
Likes: 817
From: Joplin MO
We have an Articles and How To forum with a lot of goodies - this one is what you need:

https://www.f150online.com/forums/ar...r-engines.html
 
Reply
Old Mar 2, 2016 | 09:24 AM
  #4  
ishootstuff's Avatar
Technical Article Contributor
Joined: Dec 2008
Posts: 928
Likes: 9
Please don't take this the wrong way, but if you are 3 hours in and the intake is still on, you may not have the technical skills to complete this job properly. MLS headgaskets need perfect surface preparation. The fact that you had to ask about torque sequence worries me. The head bolts are TTY (Torque To Yield) and are only designed to be used once. They are torqued to a spec and then rotated a certain number of degrees.

Again, not trying to be a jerk. The only way to really learn is to get in there an do it! So best of luck, we'll help any way we can.





 
Reply
Old Mar 2, 2016 | 09:57 AM
  #5  
Midnightride42's Avatar
Thread Starter
|
Senior Member
Joined: Sep 2008
Posts: 358
Likes: 0
From: OH
Originally Posted by ishootstuff
Please don't take this the wrong way, but if you are 3 hours in and the intake is still on, you may not have the technical skills to complete this job properly. MLS headgaskets need perfect surface preparation. The fact that you had to ask about torque sequence worries me. The head bolts are TTY (Torque To Yield) and are only designed to be used once. They are torqued to a spec and then rotated a certain number of degrees.

Again, not trying to be a jerk. The only way to really learn is to get in there an do it! So best of luck, we'll help any way we can.







Thanks for posting the directions up. I took a lot of pictures for routing of lines etc...Some of the bolts are hard to get at like in the back or the powersteerting brackets bolts at the bottom.

I knew the bolts where only good to use once. I have a new set to arrive today. I asked about sequence as I've read and heard many times that if you just start unbolting the head bolts it can damage the head as one side would be under load etc...

I followed the link posted above and placing the crank at 12oclock before removing the chains is that just to get the pistons low enough so when the chians are removed the valves dont connect correct? My manual indicated when reinstalling to put the crank at 6oclock and the cams at 90% based on the head area. That seems easy enough.

Thanks for the help guys.

As for to much...I like to try everything myself. I've done timing belts on imports and build a few motors here and there. But when it's my daily driver I like to move really slow and ask as much as I can.
 
Reply
Old Mar 2, 2016 | 05:46 PM
  #6  
AndersonS's Avatar
Senior Member
Joined: Feb 2011
Posts: 752
Likes: 0
From: Nashville, TN
Don't spin the crank without the timing chains.
Don't spin the crank without the timing chains.
Don't spin the crank without the timing chains.
Don't spin the crank without the timing chains.
Don't spin the crank without the timing chains.
Don't spin the crank without the timing chains.
Don't spin the crank without the timing chains.
Don't spin the crank without the timing chains.
 
Reply




All times are GMT -4. The time now is 12:56 PM.